专利号:
CN202220518421.3
摘要:
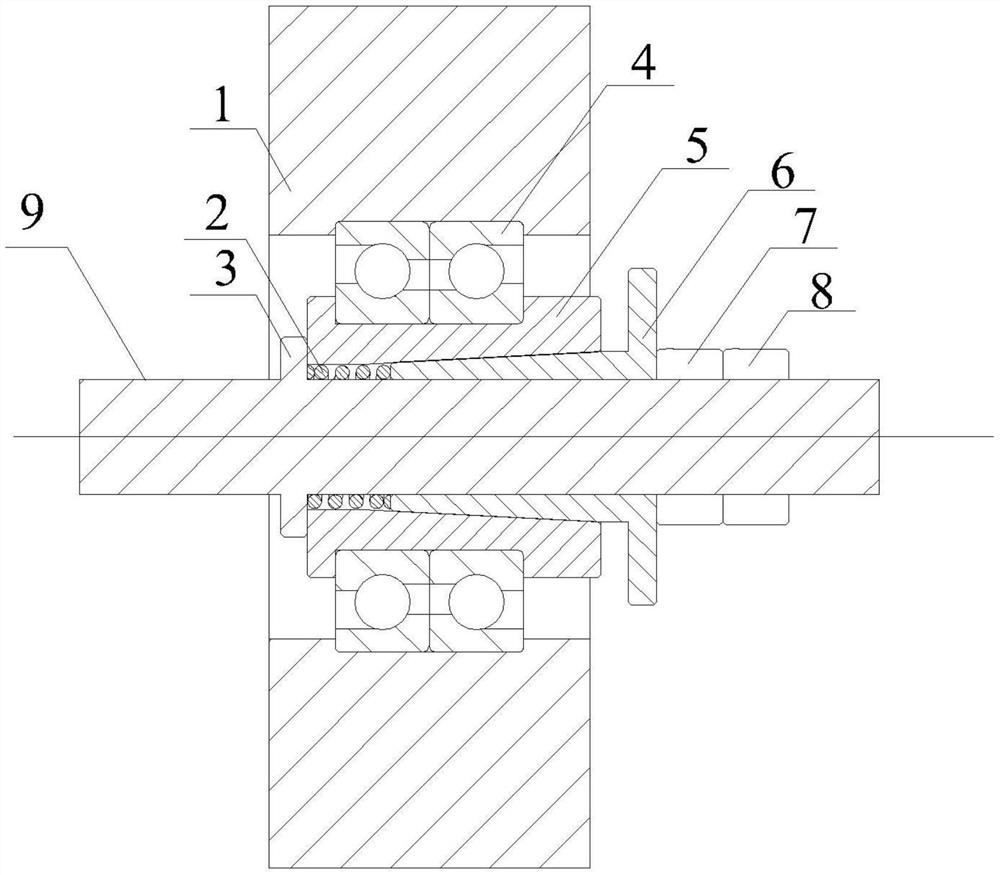
用于高速电主轴与轴承过盈连接的过盈量调控装置,包括:轴承座(1)、弹簧(2)、轴承(4)、外套筒(5)、内套筒(6)、预紧螺母(7)、电主轴(9);电主轴的左侧具有轴肩(3),弹簧套在电主轴上,弹簧的左端连接轴肩且右端连接内套筒,外套筒的左端固定到轴肩;内套筒的内侧壁为圆柱形侧壁且在电主轴上滑动,外侧壁为圆锥形侧壁且尖头朝左;外套筒的外侧壁是圆柱形侧壁且与轴承连接,轴承固定在轴承座上,外套筒的内侧壁是圆锥形侧壁且尖头朝左,内侧壁套在弹簧外,内套筒与外套筒锥度相同,外套筒的内侧壁与内套筒的外侧壁滑动配合;预紧螺母设置在内套筒的右端,通过预紧螺母来调节内套筒的左右位移量。
