专利号:
CN202220762500.9
摘要:
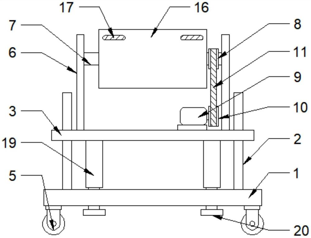
本实用新型公开了一种平面设计用辅助工具,包括移动底座、导向滑杆、升降基座和固定通槽,所述移动底座上安装有导向滑杆,所述导向滑杆上设有升降基座,所述移动底座上设有固定通槽,所述移动底座底部安装有万向轮,且万向轮位于移动底座底部四角处。本实用新型的有益效果是,通过万向轮方便对装置进行移动,通过驱动电机驱动转动杆进行转动,转动杆通过固定套筒带动设计板转动,方便调节设计板的角度,方便进行使用,连接滑杆可以固定套筒内滑动,方便调节设计板的前后位置,便于进行使用,通过电动液压推杆伸缩带动防滑底板移动,防滑底板与地面接触将装置支撑起来,方便调节装置的高度,适用于不同身高的人使用。
