专利号:
CN202220895550.4
摘要:
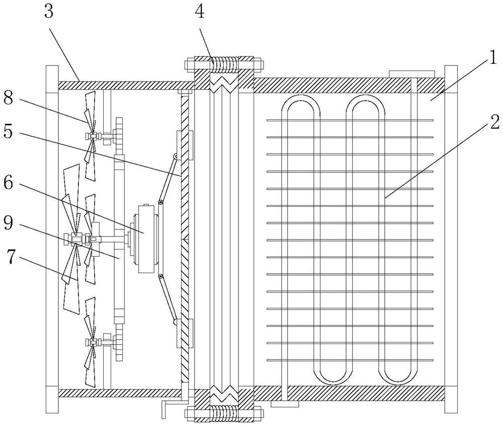
本实用新型公开一种空气入口速度可控的可再生能源系统换热器,属于再生能源利用技术领域,包括第一安装仓,所述第一安装仓的内部设置有换热管,所述第一安装仓的一端设置有第二安装仓,所述第一安装仓与第二安装仓之间设置有连接机构。本实用新型第二安装仓内部的电机以及第一扇叶的设置,能够在装置的使用过程中,利用电机控制第一扇叶的转动,对装置提供风能,提高了装置的实用性,另外通过第二安装仓内部双向螺杆、滑块、支撑杆、安装板组成的伸缩机构以及主动齿轮、从动齿轮组成的传动机构,能够在电机的启动过程中,控制第一扇叶与第二扇叶同时进行旋转,对装置空气入口的速率进行调节,使用更加方便。
