专利号:
CN202221012967.8
摘要:
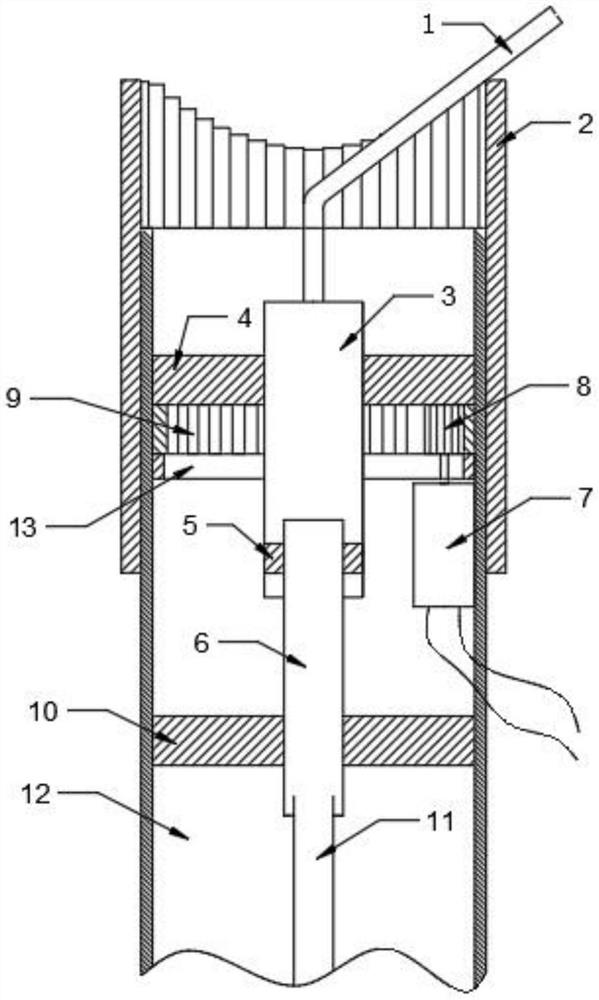
本实用新型涉及灌溉器领域,具体涉及一种可调域节水灌溉器,包括外壳、安装在外壳内的水管、固定腔、旋转腔、喷管、以及套设在外壳顶端的可滑移圆柱体支撑,固定腔下端与水管上端固接,上端通过密封活塞与旋转腔的下端可转动连接,旋转腔的上端与喷管的底端固接,外壳内还设有用于驱动旋转腔旋转的马达、小齿轮和大齿轮,马达通过连接装置与小齿轮联接,从而驱动小齿轮转动,小齿轮通过与大齿轮的啮合,带动大齿轮转动,从而使得旋转腔旋转。本实用新型通过设计的可滑移圆柱形支撑体可用来改变灌溉喷头的运行轨道,从而实现喷出不同水域,以适应复杂形状的草坪、植被和农作物等灌溉,极大地节约了水资源及人力物力,有很强的工程实用价值。
