专利号:
CN202221061983.6
摘要:
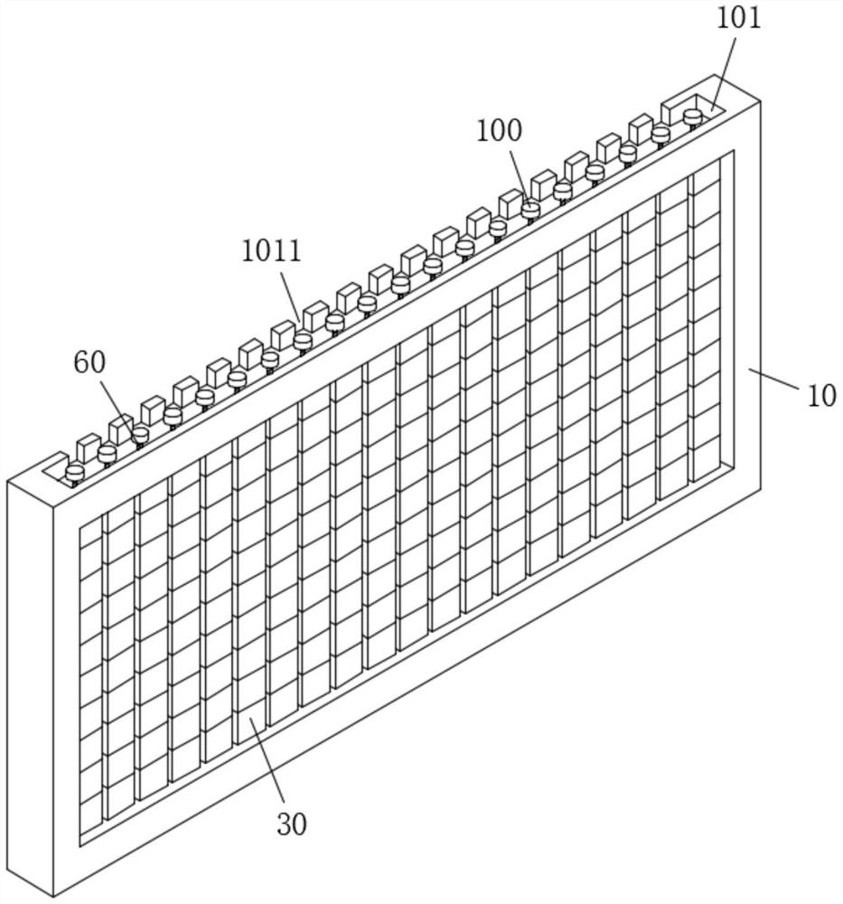
本实用新型公开了一种可调控的多功能景观墙,针对现有技术中存在效果单一,不具有多元化,不能用于一些主体宣传,实用性不强的问题,现提出如下方案,包括框体,所述框体的内部呈并排等距固定连接有多个立管,多个立管的外壁均转动套设有多个装饰方块,相邻两个装饰方块的上下面相互接触,所述装饰方块的内部设有与对应立管进行定位的定位组件,所述立管的内部设有用于对装饰方块进行限位转动的限位组件,本实用新型结构简单,使用方便,能够通过转动一个旋柄实现对多个装饰方块的限位控制调节,并且通过对多个装饰方块的转动调节能够改变墙体的装饰画面,同时还能起到一定的宣传作用,提高使用的灵活性和观赏的丰富性,使其功能多样化。
