专利号:
CN202221379468.2
摘要:
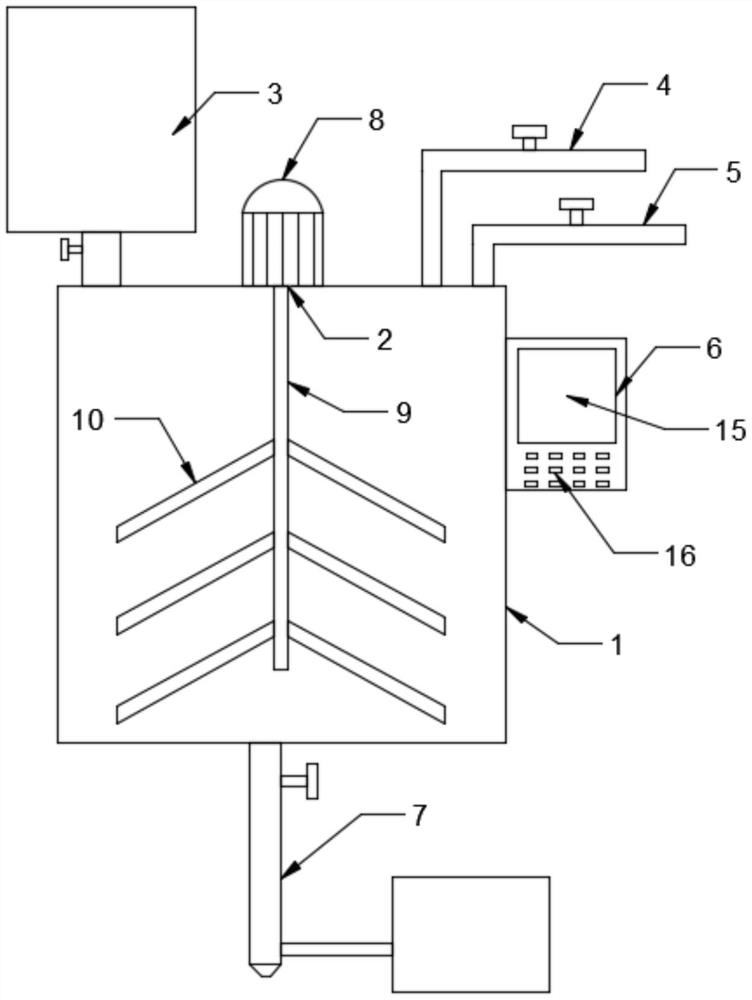
本实用新型公开了一种纳米粉末微量润滑冷却削磨装置包括冷却混合箱、润滑液混合装置、纳米粉末加料箱、润滑油加料管、水源连接管、混合控制装置、削磨冷却出料装置,在冷却混合箱的内设置有润滑液混合装置,通过润滑液混合装置将纳米粉末、润滑油和水充分混合形成削磨液,保证削磨液混合均匀,从而达到更好的冷却效果,将雾化喷嘴与空气加压装置连接,通过空气加压装置喷出的高压气流使得混合后的削磨液充分雾化,有效减少冷却削磨液的用量,从而降低工件的加工成本,在混合控制装置上设置有原料量显示屏,通过混合控制装置可以精确控制每种原料的用量,使得冷却削磨液的配比更加精确,从而得到高质量的冷却削磨液。
