专利号:
CN202221439387.7
摘要:
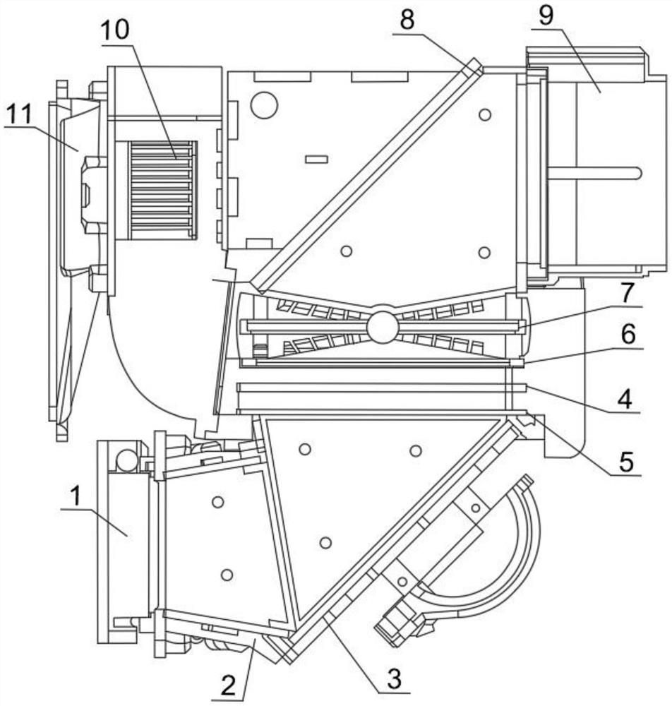
本实用新型公开了一种双反射式LCD投影仪,涡轮风扇与外部电源电性连接,该光源发出的光经过下光源反射镜片反射并通过一体式聚光杯聚集以及隔热偏振滤片形成偏振光并滤除红外光后至该第一菲林透镜,通过该第一菲林透镜形成多束平行光,该多束平行光经过LCD后产生图像,通过第二菲林透镜后聚焦,经过上成像反射镜片反射后,最终到达镜头,经过镜头最终成像至幕布通过光路系统中的上成像反射镜片以及下光源反射镜片组成双反射式光学系统有效的改变光路结构,解决现有技术中传统投影仪结构单一,体积庞大,空间利用率低等问题,使搭载此双反射式光学系统的产品机构更加紧凑小巧。
