专利号:
CN202221439664.4
摘要:
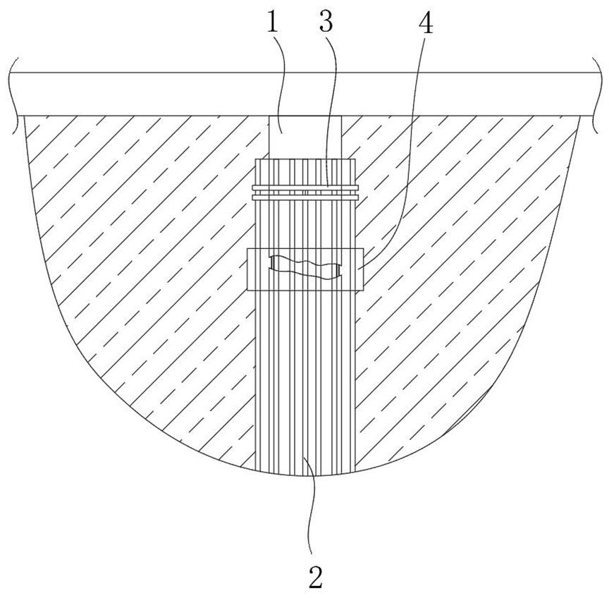
本实用新型公开了一种钢管围箍式断桩加固结构,包括围绕断桩竖直布设的若干钢管,钢管紧贴断桩外缘布设;钢管下端距离断桩断裂处1.5~3m,钢管上端距离断桩断裂处1~1.5m;钢管上部连接有夹持件,夹持件连接于各钢管之间,夹持件使各钢管紧箍断桩外缘;断桩断裂处浇筑有混凝土,混凝土填充包裹断桩断裂处及外侧钢管。本实用新型通过在断桩周围打入钢管,通过钢管箍紧断桩,从而固定断桩,防止断桩断裂错位;在钢管的上部连接夹持件,用于提高钢管对断桩的加固强度;并在断桩的断裂处浇筑混凝土,修补断桩的缺陷,提高桩的承载力;本实用新型的施工材料和设备易于获取,施工方法简单,有助于降低施工成本。
