专利号:
CN202222109091.5
摘要:
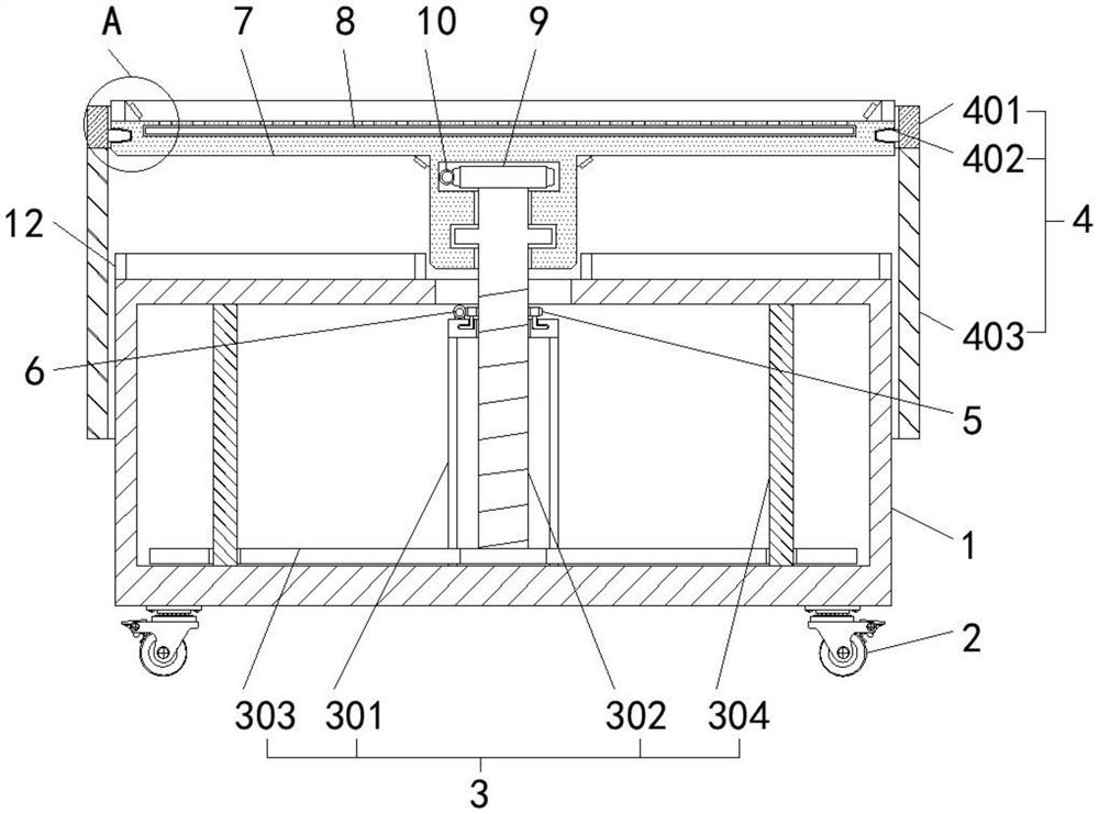
本实用新型公开了一种古建筑设计用沙盘,包括:安装底座,其下端安装有用于移动的固定脚轮,且安装底座的内侧安装有高度调节机构,所述高度调节机构的上端固定有衔接轮,且衔接轮的外侧设置有上支撑座,并且衔接轮的左侧设置有安装于上支撑座内的角度调节杆,所述安装底座的上侧安装有保护座;保护机构,其设置于上支撑座的外侧,且上支撑座的内侧安装有LED灯板,所述上支撑座的上侧安装有用于照明的照射灯;调节环,其设置于高度调节机构的外侧,且调节环的左侧设置有高度调节杆。该古建筑设计用沙盘,能够进行双层展示,增加实用性,且能够对部分古建筑模型进行保护,避免其受损。
