专利号:
CN202222235857.4
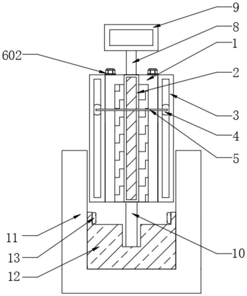
摘要:
本实用新型公开了一种防黏减摩润滑剂生产用配比装置,包括壳体和齿轮。所述壳体的前端设置有数值显示表,且壳体的左右两侧均固定连接有齿条壳体,所述齿轮设置于齿条壳体的内部,所述壳体的内部上壁设置有固定组件,所述限位件的内部螺纹连接有螺纹件。该防黏减摩润滑剂生产用配比装置,通过齿条壳体、齿轮与辅助件便于不熟练的操作人员也能够精准的配比物料,能够避免物料配比不均匀的现象发生。硅胶活塞、拉伸杆与把手有利于操作人员在没电的情况下使用该设备进行工作,且不耽误工作效率,较为方便。而存放箱体、清洁海绵和固定件则有利于对设备进行存放,并且能够防止物料长时间接触空气,导致物料表面干掉,影响设备的正常使用。
