专利号:
CN202222290593.2
摘要:
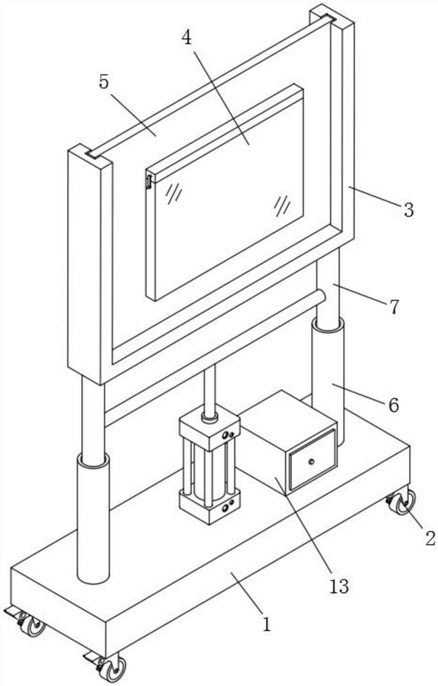
本实用新型提供一种可调节的展示架,该可调节的展示架,包括底板和防护机构;所述底板底部的四角均设置有万向轮,底板的上方设置有安装架,所述安装架的内壁滑动连接有展示板;所述防护机构设置于展示板的一侧,所述防护机构包括放置板、连接块、插孔和插杆,所述放置板的顶部卡接有连接块,所述放置板的顶部开设有插孔。本实用新型提供的一种可调节的展示架解决了当使用者用展示架对设计图纸或文件进行展示时,因展示架没有对图纸和文件防护的功能,导致空气中的灰尘会粘附在设计图纸或文件上,当在室外展示时,天气骤变下雨的话,雨水会将图纸或文件淋湿,进而可能造成图纸和文件损坏,不能满足现阶段使用者需求的问题。
