专利号:
CN202222439688.6
摘要:
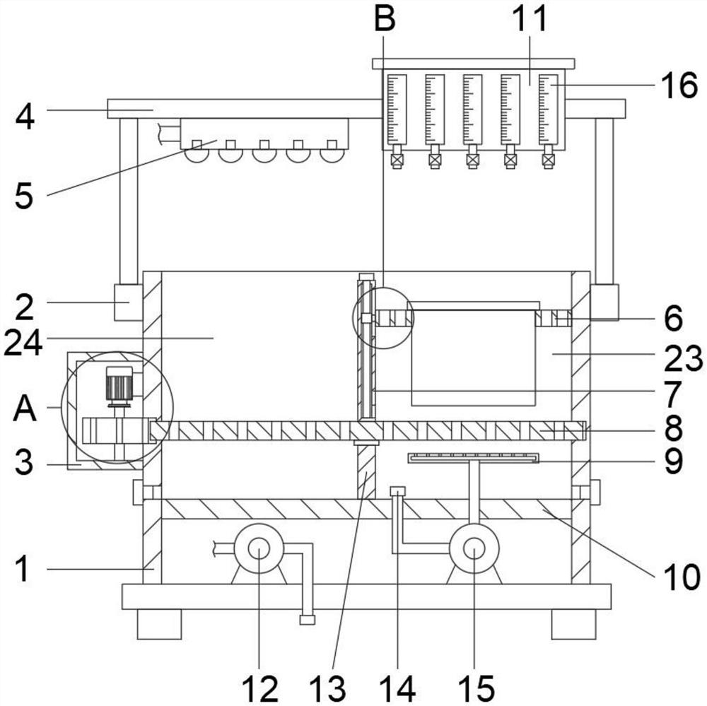
本实用新型公开了一种沉铜加工装置,包括箱体,箱体的内部转动连接有支撑板,支撑板的顶部固定连接有第一隔板,第一隔板的外侧滑动连接有放置板,箱体的外侧对称固定连接有支撑架,支撑架的顶部固定连接有固定板,固定板的内部固定连接有化学原料箱,固定板的底部固定连接有喷洒板,本实用新型所达到的有益效果是:能够转动转轴带动齿轮转动,在齿轮与齿圈的作用下带动支撑板转动,支撑板带动放置板转动,使放置板内部的产品箱在加工结束后进行转动,喷洒板进行产品清洗工作,降低劳动强度。
