专利号:
CN202222503455.8
摘要:
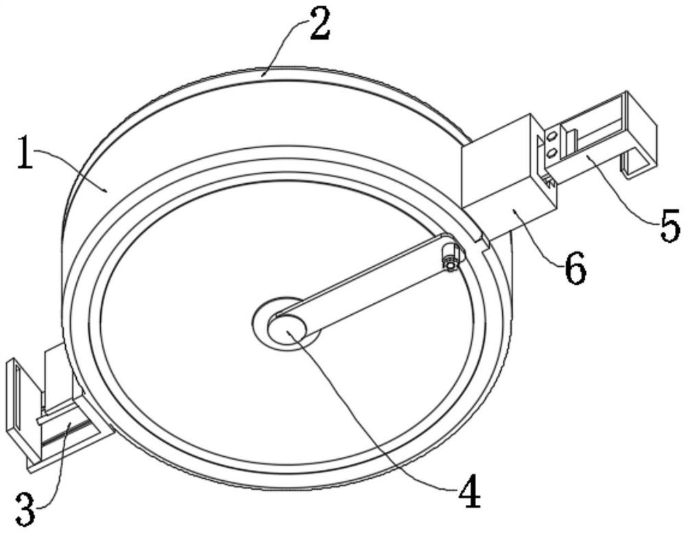
本实用新型涉及车辆安全装置技术领域,尤其涉及车辆安全装置,包括收卷盘,所述收卷盘顶端螺纹对接有盘盖,所述收卷盘左侧设置有固定件,所述固定件包括钩板,所述钩板呈L形结构,所述钩板内壁边侧连接有限位板,所述收卷盘内部中心位置处转动连接有伸缩卷,所述伸缩卷包括卷芯轴,所述卷芯轴转动安装在收卷盘内壁,所述卷芯轴中心位置处插设有插轴,且所述插轴外侧连接有束紧绑带,所述束紧绑带末端通过通槽贯穿收卷盘外侧。本实用新型通过插轴插设在卷芯轴内部,当束紧绑带闲置时,可以转动绕轴使卷芯轴旋转,卷芯轴在转动中能够对束紧绑带进行回缩卷绕,从而避免束紧绑带在闲置时穿插打结,影响束紧绑带对货物的约束紧固效果。
