专利号:
CN202222708473.X
摘要:
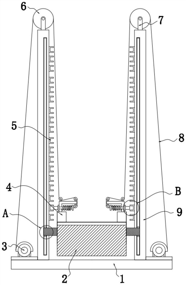
本实用新型涉及提升装置技术领域,具体为一种防坠落混凝土提升装置,包括基座和提升框,提升框设置在基座上方,基座上端面相对的两端设置固定架,固定架对称设置在提升框的两侧,固定架的顶部设置吊绳,吊绳与提升框两侧相连接,固定架和提升框之间设置限位组件,限位组件设置在固定架的安全高度以上,避免提升框坠落造成安全隐患,同时,对提升框两侧同时起吊,保证两侧受力均匀,提升时提升框两侧滑块上的导向块在导向槽内滑动,为提升框提供支撑点,不容易产生晃动,提高提升时的稳定性。
