专利号:
CN202223019304.1
摘要:
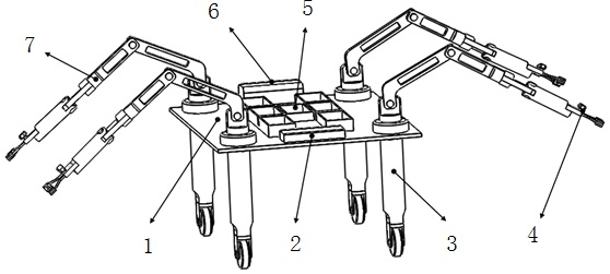
本实用新型涉及一种智能化草莓采摘机器人及其采摘方法,包括主平台,所述主平台上设置有机械臂、控制系统和驱动单元,所述机械臂上安装有采摘执行机构,所述采摘执行机构上设置有双目相机,所述控制系统与所述双目相机和所述驱动单元信号连接,所述驱动单元与所述机械臂和所述采摘执行机构信号连接,本发明通过双目视觉技术对成熟的草莓果实进行识别与定位,通过后台计算确定采摘执行机构与草莓之间的相对位置,最后通过控制机械臂带动采摘执行机构对草莓进行采摘。草莓的采摘方式为夹持式采摘,夹持对象为草莓果实,极大的提升草莓采摘设备的抗干扰能力和采摘效率。
