专利号:
CN202223179882.1
摘要:
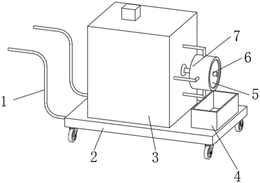
本实用新型公开了一种线缆收卷装置,其技术方案包括:内架和闸板,移动车和箱体,所述移动车顶部中间安装有箱体,所述箱体顶部中间安装有电机A,所述电机A输出轴位于箱体内部安装有收卷轮,所述箱体一侧中间通过支撑架安装有支撑环,所述支撑环内表面远离箱体一侧安装有刮板,所述支撑环内表面靠近刮板一侧安装有清洁棉。一种线缆收卷装置解决了现有的线缆收卷装置在线缆收卷过程中无法对线缆进行清洁,线缆在土木工程施工现场极易沾染泥土,导致收卷完成后的线缆洁净度变差,后续泥土板结后,影响线缆放卷使用的问题,提高了线缆的表面洁净度,从而保证了后续线缆的放卷使用。
