专利号:
CN202223195866.1
摘要:
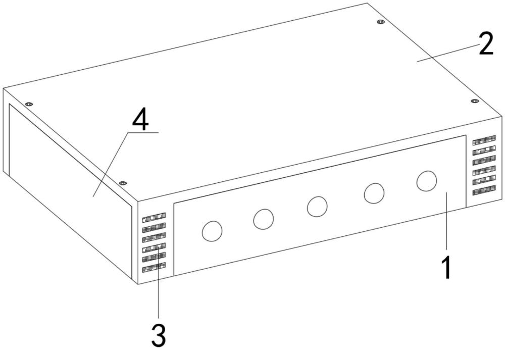
本实用新型公开了一种工业硬盘,包括下壳板,所述下壳板前端设置有若干工作指示灯,所述下壳板后端设置有数据插槽,所述下壳板顶端螺纹连接有上壳板,所述下壳板两侧设置有散热保护机构,所述散热保护机构包括侧板,所述侧板固定安装在下壳板一侧,所述侧板另一侧螺纹连接有固定板,所述侧板一侧后端且靠近上下端位置固定连接有风扇安装块,所述风扇安装块前端居中位置固定安装有微型风扇,所述固定板一侧固定连接有冷却管,所述上壳板前后端靠两侧位置均开设有散热孔;本实用新型所述的一种工业硬盘,便于对硬盘电路基板进行保护,利于定位,便于增加散热效率,同时便于硬盘温度运行。
