专利号:
CN202223384843.5
摘要:
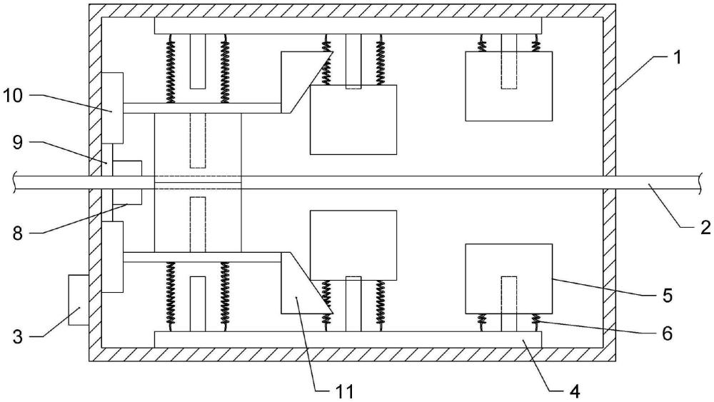
本实用新型公开了热水器领域的一种相变储热式热水器,包括箱体,箱体贯穿有换热管,换热管的两端分别连通进水管和出水管,箱体外安装有温度调节器,箱体内安装有位移调节组件和加热器,加热器上方设有储热块组,储热块组包括若干储热块,储热块底部与加热器顶部之间设有限位弹簧,储热块内填充有相变储能材料,温度调节器与位移调节组件电性连接,且位移调节组件能够控制储热块在加热器和换热管之间移动。本方案通过设置储热块组,根据设定的温度控制位移调节组件的位移,进而控制与换热管接触的储热块的数量变化进行换热,无需再通过混水阀即可实现调温,延长了热水器的使用寿命。
