专利号:
CN202320007309.8
摘要:
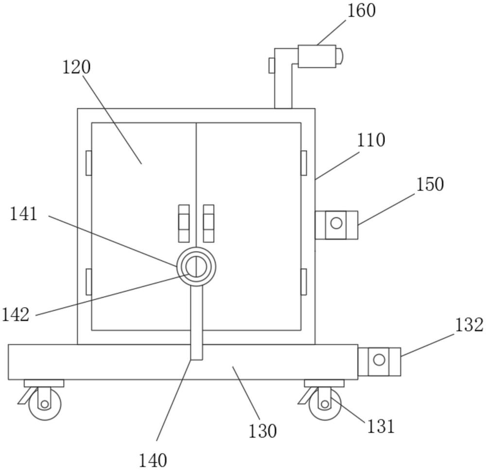
本实用新型涉及通信工程施工领域,尤其涉及一种防刮线的通信工程施工用设备,包括通信工程设备箱和固定基座,所述通信工程设备箱的顶端对称设置有操作手柄,所述操作手柄的一侧设置有控制按钮,所述通信工程设备箱的底端设置有移动块,所述固定基座的内部开设有矩形通槽,所述移动块滑动安装在矩形通槽的内部。本实用新型通过设置有第一伺服电机、固定基座、移动块和滑轮,第二伺服电机启动,使得工型辊转动,将线缆输出使用,使用完成后收纳,第一伺服电机启动,螺纹杆旋转,使得移动块在固定基座的内部滑动,使得通信工程设备箱内部的工型辊均匀的进行收纳线缆,避免集中缠绕在一个位置,减少线缆之间的摩擦。
