专利号:
CN202320115805.5
摘要:
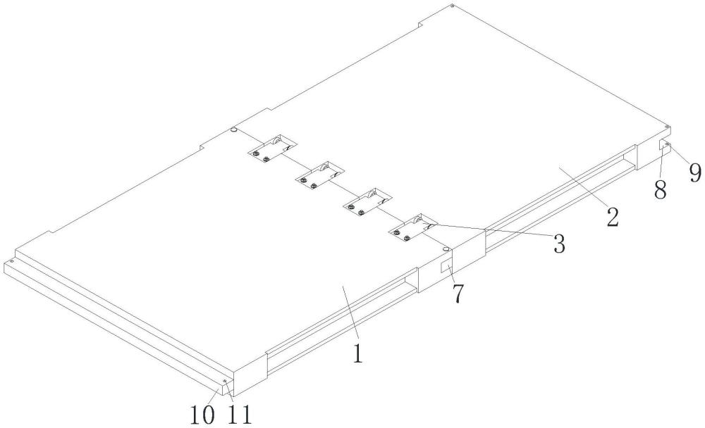
本实用新型提供一种拼接式组合墙板,该拼接式组合墙板,包括第一墙板和第二墙板,所述第一墙板的顶部设置有拼接机构,所述拼接机构包括拼接板、连接块、转轴和固定套,所述拼接板设置于第一墙板和第二墙板的内壁,所述拼接板的一侧固定连接有连接块,所述连接块的内壁固定连接有转轴,所述转轴的外侧套设有固定套。本实用新型提供的拼接式组合墙板解决了现有的建筑墙板大都使用尺寸较小,使用不便,有的建筑墙板存在在搭建浇筑面时,相邻两建筑墙板间缝隙较大的缺陷,致使浇注出来的混凝土建筑物表面参差不齐,影响建筑物质量,同时墙板拼接不方便,使用一段时间后墙板之间容易产生变形的问题。
