专利号:
CN202320399064.8
摘要:
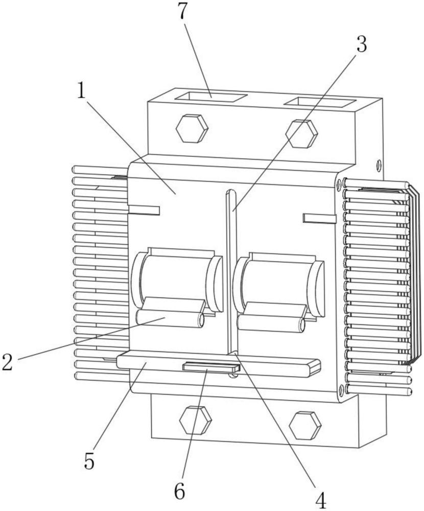
本实用新型提供一种散热好的断路器,涉及断路器技术领域,包括断路器本体,所述断路器本体的表面安装有开关,所述断路器本体的表面靠近中心位置处开设有竖槽,所述竖槽的内壁滑动连接有滑杆,所述滑杆的一端固定安装有推板,所述推板的表面固定安装有推块,所述断路器本体的顶面开设有进线槽。本实用新型中,工作人员在需要同时推上两组开关时,工作人员无需手动单独推动,只需要向上推动推块,推块随后带动推板运动,推板随后带动滑杆在竖槽内滑动,推板随后向上挤压两组开关,直至将开关打开,这时即可同时推起两组开关,这样在实际使用时,对于电力维护人员较为友好,可以提高工作效率,且结构简单,成本低廉,实用性较高。
